bit这个词原来是从binary digit的缩写得到的。在计算机时代,比特被看做是组成信息块的基本单位。
某一位或一连串比特位所表示的意义通常是和上下文有关。
比特通常无法从日常观察中找到,它深藏于电子设备中。
传统代数的特点,传统代数是处理数字的。
乔治·布尔发明了一种代数,叫做布尔代数。布尔的天才之处就在于他把代数从数的概念中抽离出来而使其更加抽象。在布尔代数中,操作数不是数字而是类。简单说,一个类就是一个事物的群体,它后来也被称为集合(set)。
布尔对数学方面的革命性影响是让人们熟知的符号更加抽象。
在布尔代数中,符号”+”表示两个集合的并集,符号”x”表示两个集合的交集。
布尔代数与电路相融合。
作为一个程序员,我想说计算的东西应该交给计算机 而我们 应该更多关注里面本真的意义。 这句话给我的震撼挺大。
下面的这个串联电路就实现了 与(and)门

下面的这个并联电路就实现了 或(or)门

在逻辑学中,逻辑门(logic gates)的工作方式非常简单–让电流通过或阻止电流通过。
电子工程师可以利用布尔代数的所有工具去设计开关电路。如果你简化了一个网络的布尔表达式,那么你也可以简化相应的网络。
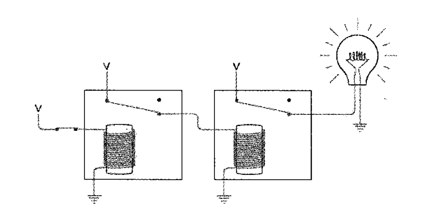
继电器像开关一样,可以串联或并联在电路中执行简单的逻辑任务。
继电器优于开关之处在于,继电器可以被其他继电器所控制,而不必由人工控制。
继电器通过放大微弱信号来生成强信号。

连接继电器是建立逻辑门的关键。

版权声明:本文为m0_37564426原创文章,遵循 CC 4.0 BY-SA 版权协议,转载请附上原文出处链接和本声明。